+371 28214678
Sonarol SNR400
Augstas kvalitātes Sonarol frontālie iekrāvēji. Iespējams salāgot ar visiem populārākajiem traktoriem.
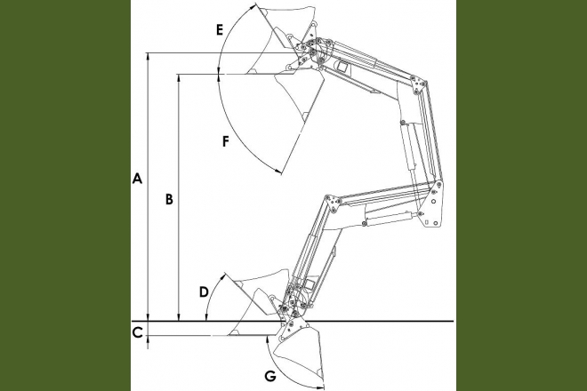
Celtspēja 1800 kg
Celšanas augstums 3700 mm
Vadība Džoistika
Hidroakumulators
Peldošā funkcija
3 hidroizvads
€




© HM AGRO SIA
2013

